有效针对外贸业务场景
立即查看 >
扫码添加微信,预约免费演示
数字化外贸综合营销决策平台
扫码添加微信,预约免费演示
数字化外贸综合营销决策平台
请完善以下信息,以便为您安排演示或样本
已自动分配售前顾问为您服务。请添加微信,更快获取项目案例和报价
为什么选MG冰球突破官网
100000+客户信赖之选,为外贸企业降本增效
EN
根据印尼贸易部统计,印度尼西亚2025第二季嫉妒达到5947万亿印尼盾,而2024全年GDP总量为22138.96万亿印尼盾(约合1.35万亿美元),同比增长5.03%。
印度尼西亚近三年从中国进口的贸易整体呈现稳步增长的趋势,尤其在2025年表现出较强的复苏势头和持续扩张的态势。从月度数据来看,自2023年1月至2025年7月期间,进口规模逐步攀升,反映出印尼国内市场需求回暖以及供应链逐步恢复的持续信号,贸易仍保持相对高位,说明中国作为印尼重要进口来源国的地位持续巩固。
(>点击获取完整报告<)

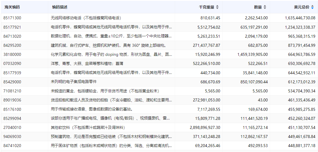
印度尼西亚近一年从中国进口的热门产品呈现出以高科技工业制成品和关键工业材料为主导的多元化结构,突显了两国贸易的互补性与印尼经济开展的核心需求。从进口额来看,通讯及网络设备类产品占据显著地位,如“无须网络移动运输(不包括数据传输)”和多种电话通信设备均位列前茅,进口额巨大,这反映了印尼在数字基础设施和通信网络建设方面对中国供应链的高度依赖与强劲需求。同时,自动数据处理机、广播电视设备等信息技术产品也占有重要份额,表明印尼正持续有助于其产业数字化与智能化升级。在工业基础材料方面,用于电子化的化学元素与化合物进口额同样可观,支撑着本土制造业与电子产业的开展。值得注意的是,部分产品如“冷凝、蒸发设备”等,其“下限数量”与“预测”值之间存在巨大差异,可能暗示着数据统计口径的特殊性或特定大宗项目的周期性进口特征。

印度尼西亚历年进出口统计如下。
(>点击获取完整报告<)
